Thông tin sản phẩm
Giá đế bắt treo quạt công nghiệp
Giá treo quạt công nghiệp là phụ kiện đi kèm để treo quạt và cố định quạt công nghiệp dạng treo theo nhu cầu của khách hàng.

Giá treo quạt này phù hợp với dòng quạt KOSMO-20G1, KOSMO-20G3. Chất liệu của Khung đế : dất dày dặn, làm bằng SUS 304 có khả năng chống hóa chất và ăn mòn, lý tưởng. Đặc biệt được sử dụng cho môi trường chuyên dụng nông nghiệp và chăn nuôi.
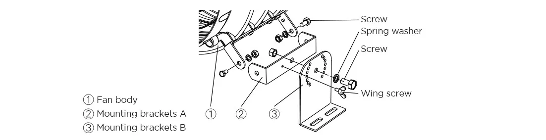
Cấu tạo của giá treo quạt công nghiệp

Ghi chú:
Mounting Brackets A: Giá gắn chữ A , có 2 chiếc
Mounting Brackets B: giá gắn chữ B, có 2 chiếc
Wing screw: Vít cánh có 1 cái
Spring washer: Vòng đệm 6 cái
Screw: Ốc 6 cái
Nut: Đai Ốc 6 cái
Phương pháp lắp đặt giá treo

Cách lắp đặt thứ tự như các số đánh trong hình bên trên.
Điều chỉnh góc khi lắp đặt quạt

Ghi chú:
Bước 1: Slightly loosen M10 screws: Nới lỏng các vít M10
Bước 2: Remove the wing screw: Tháo cánh vít
Bước 3: Adjust the angle: Điều chỉnh góc
Kích thước lắp đặt ( Đơn vị:mm)

Ghi chú:
Nut: Ốc
Spring washer: Vòng đệm
Flat Washer: Vòng phẳng
U-Bolt: Bulong chữ U
Tất cả các bộ phận lắp đặt được mã kẽm giúp hạn chế han gỉ và bị ăn mòn trong quá trình sử dụng.
Giá treo quạt công nghiệp
giá treo quạt có thể điều chỉnh góc độ phù hợp với nhu cầu của khách hàng. Phụ kiện này thường sử dụng cho dòng quạt KOSMO-20G1/ 20G3.
Khách hàng có nhu cầu mua vui lòng liên hê MR.VU để được phục vụ tốt nhất.
